
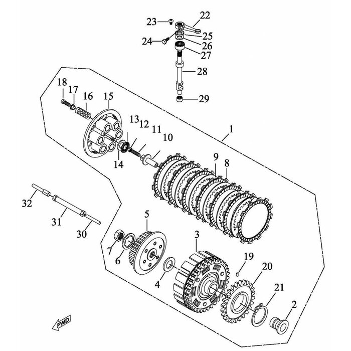
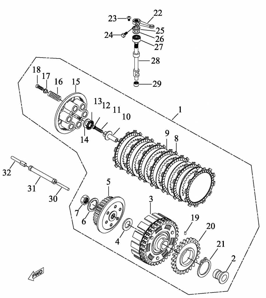
AccessKupplung
Toon alle:
Access OEM Ersatzteile
Importeur für AT und DE
Fahrzeuge auf Lager
Ersatzteilversorgung
Seit 18 Jahren auf dem Markt
Beschreibung
Bewertungen
0/5
Kein Bewertungen
Ihre Bewertung hinzufügen







